
Racing crankshaft suitable for all Piaggio moped models (Ciao, Si, Bravo, Boxer, Grillo).
This finely balanced tuning crankshaft with polished connecting rod and cheeks fits all cylinders with 10 mm piston pins and impresses with its high-quality workmanship.
Due to the longer intake timing, this tuning shaft is ideal for racing mopeds.
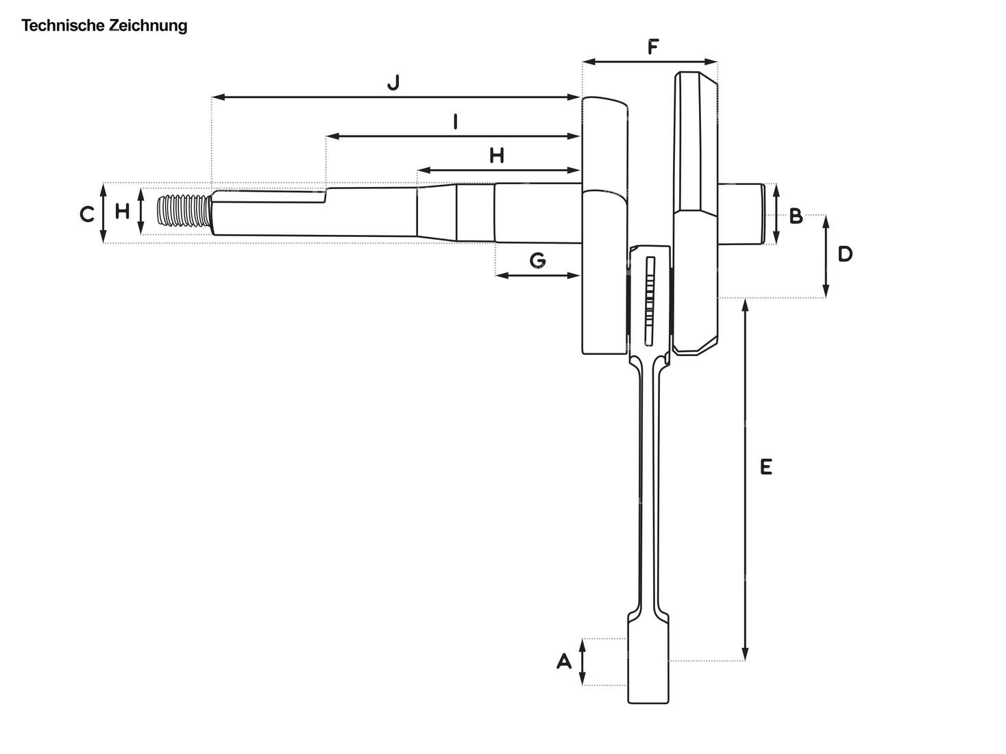
Connecting rod eye (A): 13.0 mm
Ø bearing seat right (B): 15.0 mm
Ø bearing seat rear (C): 15.0 mm
Stroke (2xD): 43.0 mm
Sleeve length (E): 87.0 mm
Width of crank webs (F): 32.5 mm
1st shoulder (G): 21.0 mm
2nd shoulder (H): 44.0 mm
3rd shoulder (I): 63.0 mm
Total length crankpin end (J): 91.5 mm
Ø Vario / clutch pin (H): 12.0 mm
Dimension needle bearing: Ø 10 / 13 x 14.2 mm (axe 10)
Thread: M8 x 1.25 mm
No shim needs to be inserted between the racing crankshaft and its main bearings for installation
Mäsig-läsig! – We strive to offer you the widest range of moped spare parts. However, this product is of rather poor quality and is not recommended by us. Should you still choose this item, we understand, but cannot offer you any guarantee or exchange.
Quality product from the Italian manufacturer Pinasco.
| Manufacturer | Pinasco |
| Material | Steel |
| Cheek type | standard |
| Crankshaft stroke | 43 mm |
| Ø coupling pin / vario pin | 12 mm |
| Ø piston pin (B) | 10 mm |
| Connecting rod length center-center | 87 mm |
| Thread type | M8x1.25 (standard thread) |
| Thread length | 13.5 mm |
| Weight | 708 g |
| Total length crankpin ignition side | 91.5 mm, 105 mm |
| Ø crank webs | 69.7 mm |
| Ø Connecting rod eye | 13 mm |
| Bearing seat right | 15 mm |
| Area of application | Racing |
| Ø Bearing seat (ignition side) | 15 mm |
| Dimension needle bearing | 10 / 13 x 14.2 mm (axe 10) |
| Wide crank webs | 32.5 mm |
| Length 1st paragraph | 21 mm |
| Length 2nd paragraph | 44 mm |
| Length 3rd paragraph | 63 mm |
| Ø 1st step (on the coupling side) | 15 mm |
| Ø 2nd shoulder (on the clutch side) | 14.4 mm |
| Ø 3rd step (on the clutch side) | 12 mm |
| Inlet control time | 146 ° |
| Control time before O.T | 88 ° |
| Control time according to O.T | 58 ° |
| Number of gears | 1 pcs |
| Piaggio | Ciao - P , SC , PX , C24 Si Bravo / Super Bravo Boxer Grillo |
Accessories & related products
swiing® ingenious puller flywheel | Piaggio Ciao, SI, Bravo, Boxer
Diameter: 12 mm · Diameter: 24 mm · Width across flats trigger: 10 mm · Width across flats trigger: 17 mm · Manufacturer: swiing® ingenious parts · Width across flats Screw: 19 mm · Material: Steel · Surface: blackened · Surface: galvanized (blue) · Total length: 100 mm · Thread type: MF12x1.5 (fine pitch thread) · Thread type: MF17x1 (fine pitch thread) · Number of components: 3 pcs · Area of application: (Dis)assembly tool
CHF 17.90
Pinasco 6202 T9 C4 ball bearing 15/35/11 polyamide cage pair
Bearing type: Deep groove ball bearing · Stock number: 6202 · Ø inside: 15 mm · Ø outside: 35 mm · Width: 11 mm · Ball bearing closed: No · Manufacturer: Pinasco · Bearing clearance: C4 · Bearing cage: Plastic cage ball-guided · Material: Polyamide (PA) · Material: Steel · Area of application: Tuning
CHF 59.90
swiing® ingenious 6202 Bearing dummy 15/35/11 Aluminum
Bearing type: Deep groove ball bearing · Stock number: 6202 · Ø inside: 15 mm · Ø outside: 35 mm · Width: 12 mm · Manufacturer: swiing® ingenious parts · Material: Aluminum · Area of application: Special tool · Area of application: Workshop accessories · Surface: anodized
CHF 9.90
Explore categories from Engine block
Moped fans also bought
Fortune / Merrick 2.00-2.25 x 16" / 17" inner tube
Manufacturer: Fortune · Valve type: TR4 Auto valve · Tire width: 2 - 2.5 " · Tire width: 2.25 - 2.5 " · Tire width: 2.5 " · Tire width [mm]: 50.8 - 63.5 · Width: 2 " · Width: 2 1/4 " · Width: 2 1/2 " · Wheel size: 16 - 17 " · Wheel size: 17 " · Tire height [%]: 100 · Old designation: 20 x 2 " · Old designation: 20 x 2.25 " · Old designation: 20 x 2.5 " · Old designation: 21 x 2 " · Old designation: 21 x 2.25 " · Old designation: 21 x 2.5 "
CHF 10.50
Malossi cylinder head for 44 - 47 mm cylinder kit | Piaggio Ciao, Bravo 1, Boxer
Manufacturer: Malossi · Material: Aluminum · Surface: sandblasted · Ø cylinder: 44 - 47 mm · Total length: 122 mm · Width: 87 mm · Height: 60 mm · Candle thread: long · Number of fixing points: 3 pcs · Hole pattern [mm]: 35 x 55 · Decompressor: Yes · Camouflaged: No · Area of application: Racing
CHF 79.90
Not in stock







